BMW ยื่นจดสิทธิบัตร “น็อตรูปแบบพิเศษ” ที่มีหัวสกรูเป็นรูปดีไซน์โลโก้ของแบรนด์ ส่งผลให้อุปกรณ์ทั่วไปไม่สามารถไขออกได้ตามปกติ ส่วนอู่หรือช่างซ่อมภายนอกก็จะไม่สามารถดัดแปลงได้ง่าย ๆ จำเป็นต้องใช้อุปกรณ์เฉพาะของศูนย์เท่านั้น
หัวสกรูลายโลโก้ BMW
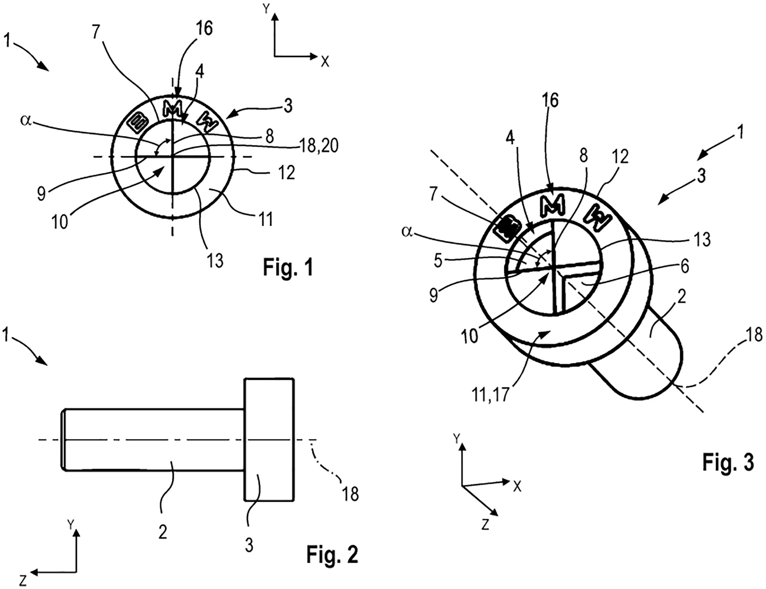
อ้างอิงข้อมูลจากเว็บไซต์ Autoblog (ผ่าน carscoop) ที่ได้รายงานพร้อมแนบภาพร่างของ “น็อตที่มีหัวสกรูดีไซน์เฉพาะทาง” ซึ่งเป็นหนึ่งในสิทธิบัตรจาก BMW ที่ยื่นไว้เมื่อเดือนมิถุนายนในปี 2024 ก่อนจะถูกเผยแพร่ให้พวกเราได้เห็นกันเมื่อต้นเดือนธันวาคม 2025


จากภาพร่างเราจะเห็นได้ว่า “หัวสกรูมีรูปแบบเป็นทรงกลม” โดยพื้นที่ของหัวสกรูจะถูกแบ่งออกเป็น 4 ส่วน มีทั้งส่วนที่เป็นพื้นผิวเรียบเท่ากับรอบนอก และส่วนที่เป็นร่องลึกทรงสามเหลี่ยม จับคู่กับสัญลักษณ์ BMW แบบนูนต่ำ
ออกแบบมาเพื่อกันไม่ให้เอาไปซ่อมกับอู่ภายนอก
จากรายละเอียดในสิทธิบัตร “หัวสกรูดีไซน์พิเศษ” จะถูกนำไปใช้กับจุดยึดโครงสร้างหรือกึ่งโครงสร้าง เช่น จุดยึดเบาะนั่ง และจุดยึดโครงสร้างภายในห้องโดยสารกับตัวถังรถ ส่วนอีกหนึ่งเหตุผลที่เราพอจะคาดเดาได้ง่าย ๆ ก็คือ “BMW ตั้งใจออกแบบมาเพื่อให้อุปกรณ์ทั่วไป หรือช่างจากอู่ภายนอกไม่สามารถไขน็อตเหล่านี้ได้ง่าย ๆ”
อย่างไรดีเรายังไม่รู้ว่า BMW จะทำการผลิตน็อตที่มีหัวสกรูเฉพาะทางออกมาจริง ๆ หรือเปล่า อย่างที่ได้บอกไปว่าสิทธิบัตรนี้ได้ยื่นเอาไว้ตั้งแต่ปี 2024 แล้ว และการที่เว้นช่วงระยะเวลาเอาไว้นานแบบนี้ก็มีแนวโน้มว่ารายละเอียดต่าง ๆ อาจมีการเปลี่ยนแปลงได้ในอนาคต
หรืออีกความเป็นไปได้ก็คือ BMW อาจจะกำลังอยู่ในช่วงของการเลือกว่า “จะผลิตน็อตรูปแบบไหนออกมาบ้าง” เพราะนอกเหนือจากภาพร่างที่เราแนบไปให้ดูแล้วนั้น ก็ยังมีรายละเอียดของหัวสกรูอีกหลายรูปแบบระบุเอาไว้ด้วย เช่น สกรูแบบหกเหลี่ยม, หัวแบน, และหัวโค้ง

Comment