Apple ยื่นจดสิทธิบัตรเทคโนโลยีสแกนนิ้วใต้หน้าจอ Touch ID พร้อมกับหาทางพัฒนาสำหรับนำไปใช้บนอุปกรณ์หลาย ๆ ประเภท เช่น iPhone, iPad และ Mac
iPhone Fold บางจนใส่ Face ID ไม่ได้ เลยต้องใช้ Touch ID แทน ?
ข้อมูลนี้สอดคล้องกับข่าวลือว่า iPhone Fold หรือมือถือจอพับรุ่นแรกของ Apple จะบางจนไม่สามารถติดตั้งเซนเซอร์ Face ID ลงไปได้ ทำให้จำเป็นต้องหันกลับมาใช้ Touch ID แทน

ถึงแม้จะมีการคาดเดากันว่า Touch ID ที่หมายถึงคือเซนเซอร์สแกนลายนิ้วมือใต้จอ แต่หลาย ๆ สื่อก็คิดว่า Apple น่าจะให้ iPhone Fold เลือกใช้เป็นเซนเซอร์ Touch ID บริเวณปุ่มพาวเวอร์ข้างตัวเครื่องมากกว่า เหมือนกับ iPad Air 4
Apple ยังไม่ยอมแพ้กับการพัฒนา Touch ID ใต้หน้าจอ
สิทธิบัตรฉบับดังกล่าวของ Apple อย่าง Display with localized brightness adjustment capabilities แสดงให้เราได้เห็นว่า บริษัทยังไม่ละทิ้งความพยายามในการพัฒนาเซนเซอร์สแกนนิ้วใต้หน้าจอ นับจากปี 2021 ที่เคยมีข้อมูลออกมาแล้วรอบนึงแต่ Apple ก็ไม่ได้นำมาใช้จริง

วางนิ้วเพื่อสแกนลายนิ้วมือตรงไหนก็ได้บนหน้าจอ ?
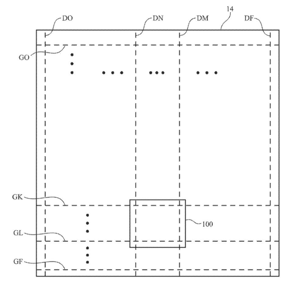
หลักการทำงานของ Touch ID ใต้หน้าจอ ไม่ใช่การปรับแสงตามสภาพแวดล้อมแบบ True Tone แต่พิกเซลบางส่วนบนหน้าจอจะสว่างขึ้นมาทำหน้าที่เหมือนแสงแฟลช เพื่อรับภาพลายนิ้วมือก่อนจะสะท้อนกลับไปที่เซนเซอร์รับแสง (Light sensors) ในการตรวจจับจับลายนิ้วมือ
จุดประสงค์ของเทคโนโลยีใหม่นี้ Apple ต้องการให้หน้าจอจะยังแสดงผลได้ตามปกติ โดยทำงานร่วมกับระบบตรวจจับตำแหน่งนิ้วมือ และเร่งแสงสว่างหน้าจอขึ้นมา “เฉพาะจุดที่นิ้วสัมผัสเท่านั้น” ซึ่งหมายความว่า ผู้ใช้อาจวางนิ้วตรงไหนก็ได้บนหน้าจอเพื่อสแกน Touch ID
ไม่ได้ใช้กับ iPhone จอพับ แต่เอาไปใช้กับอุปกรณ์อื่น ๆ เช่น Mac
รายละเอียดในสิทธิบัตรยังมีการกล่าวถึงเซนเซอร์ Touch ID อีกรูปแบบหนึ่ง ได้แก่ การสแกนเฉพาะจุด (Specific Section) ที่เซนเซอร์รับแสงจะอยู่แค่บางส่วนของหน้าจอเท่านั้น ซึ่งหากใช้วิธีนี้ก็จำเป็นต้องมีสัญลักษณ์เพื่อระบุให้ชัดเจนว่า “ต้องวางนิ้วตรงไหน”

สิทธิบัตรไม่ได้ระบุเจาะจงว่าจะนำไปใช้กับ iPhone เท่านั้น แต่อาจครอบคลุมไปจนถึงอุปกรณ์อื่น ๆ เช่น iPad, Mac, เครื่องเล่นมีเดีย, หน้าจอแสดงผล และคอมพิวเตอร์ตั้งโต๊ะ เป็นต้น
Touch ID ใต้หน้าจอจะนำไปใช้กับ iPhone หรือ Mac รุ่นไหนบ้าง ?
ตอนนี้เราไม่สามารถยืนยันได้ว่า Touch ID ใต้หน้าจอจะนำมาใช้กับ iPhone Fold จริงหรือเปล่า เพราะสิทธิบัตรตัวนี้ถูกยื่นจดไว้ตั้งแต่เดือนมกราคม 2025 ไม่แน่ว่า Apple อาจปัดตกไอเดียนี้ไปแล้ว หรืออาจยังพัฒนาต่อเพื่อจะลองไปใช้กับอุปกรณ์อื่น ๆ ตามที่ระบุไว้ก่อนหน้านี้

แต่ในขณะเดียวกัน Apple ก็เคยจดสิทธิบัตรเทคโนโลยีสแกนใบหน้า Face ID สำหรับ Mac ไปเมื่อเดือนกรกฎาคม 2025 ทำให้มีความเป็นไปได้หลาย ๆ อย่างที่อาจเกิดขึ้นกับสินค้าใหม่ ๆ ว่าจะรองรับ Face ID หรือ Touch ID กันแน่
ที่มา : Apple Insider

Comment